ZX-T摇臂式微孔曝气器
概述
摇臂式微孔曝气器与常规曝气系统相比,曝气效果好,节约能源,无须放水,即可维修,可广泛用于活性污泥法充氧。活动摇臂可灵活转动360度,使用此设备可将曝气头移至水面上清理、更换
ZX-T摇臂式微孔曝气器由活动摇臂、管式曝气器、提升机三大部件组成。
1、 摇臂
摇臂由大底座(含上活动关节)、吊臂(由立管和下动关节组成)、横排三部分组成。
大底座固定在池顶,与总进气管联接。立管管径DN125,横排管径DN100,管式曝气头对称安装在横排上。横排长度最长不得超过7米,摇臂通过摇臂机的牵引,由于上下活动关节的作用,将横排及曝气头摇臂至池顶1–1.5米高,利于检修。
管式曝气头将立管及横排传输过来的空气扩散至水中,起到对微生物及水体充氧、搅拌、混合和摇臂的作用。
3、 液压提升机
提升机的作用是将摇臂及曝气头提升到水面的专用机械,它可以由人工推动在池顶的走道上行走。因此,曝气池上多台摇臂可以共用1–2台提升机。
技术参数:
型号:ZXTL–8
满载摇臂速度:≤3m/min
功 率:1.5–3kw
油 缸 推 力:8–12T
速 度 控 制:无级变速
尺 寸:110×700×1800㎜
3、 液压提升机
提升机的作用是将摇臂及曝气头提升到水面的专用机械,它可以由人工推动在池顶的走道上行走。因此,曝气池上多台摇臂可以共用1–2台提升机。
型号:HFTL–8
满载提升速度:≤3m/min
功 率:1.5–3kw
油 缸 推 力:8–12T
速 度 控 制:无级变速
尺 寸:110×700×1800㎜
二:设备展示
摇臂式微孔曝气器与常规曝气系统相比,曝气效果好,节约能源,无须放水,即可维修,可广泛用于活性污泥法充氧。活动摇臂可灵活转动360度,使用此设备可将曝气头移至水面上清理、更换

提升时状态(侧壁式)
一、 ZX-T摇臂式微孔曝气器的组成、作用及参数ZX-T摇臂式微孔曝气器由活动摇臂、管式曝气器、提升机三大部件组成。
1、 摇臂
摇臂由大底座(含上活动关节)、吊臂(由立管和下动关节组成)、横排三部分组成。
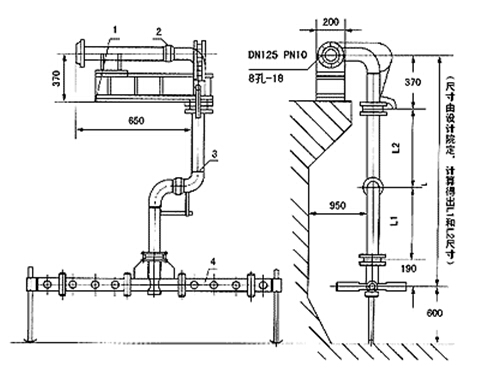
大底座固定在池顶,与总进气管联接。立管管径DN125,横排管径DN100,管式曝气头对称安装在横排上。横排长度最长不得超过7米,摇臂通过摇臂机的牵引,由于上下活动关节的作用,将横排及曝气头摇臂至池顶1–1.5米高,利于检修。

图1 摇臂示意图

图2 摇臂安装示意图
管式曝气头将立管及横排传输过来的空气扩散至水中,起到对微生物及水体充氧、搅拌、混合和摇臂的作用。
3、 液压提升机
提升机的作用是将摇臂及曝气头提升到水面的专用机械,它可以由人工推动在池顶的走道上行走。因此,曝气池上多台摇臂可以共用1–2台提升机。
技术参数:
型号:ZXTL–8
满载摇臂速度:≤3m/min
功 率:1.5–3kw
油 缸 推 力:8–12T
速 度 控 制:无级变速
尺 寸:110×700×1800㎜
3、 液压提升机
提升机的作用是将摇臂及曝气头提升到水面的专用机械,它可以由人工推动在池顶的走道上行走。因此,曝气池上多台摇臂可以共用1–2台提升机。

型号:HFTL–8
满载提升速度:≤3m/min
功 率:1.5–3kw
油 缸 推 力:8–12T
速 度 控 制:无级变速
尺 寸:110×700×1800㎜
二:设备展示

图1 曝气头侧壁布置

图2 提升式微孔曝气器工作状态
